Gasiti piese de schimb sau accesorii potrivite pentru produsele dumneavoastra Einhell.
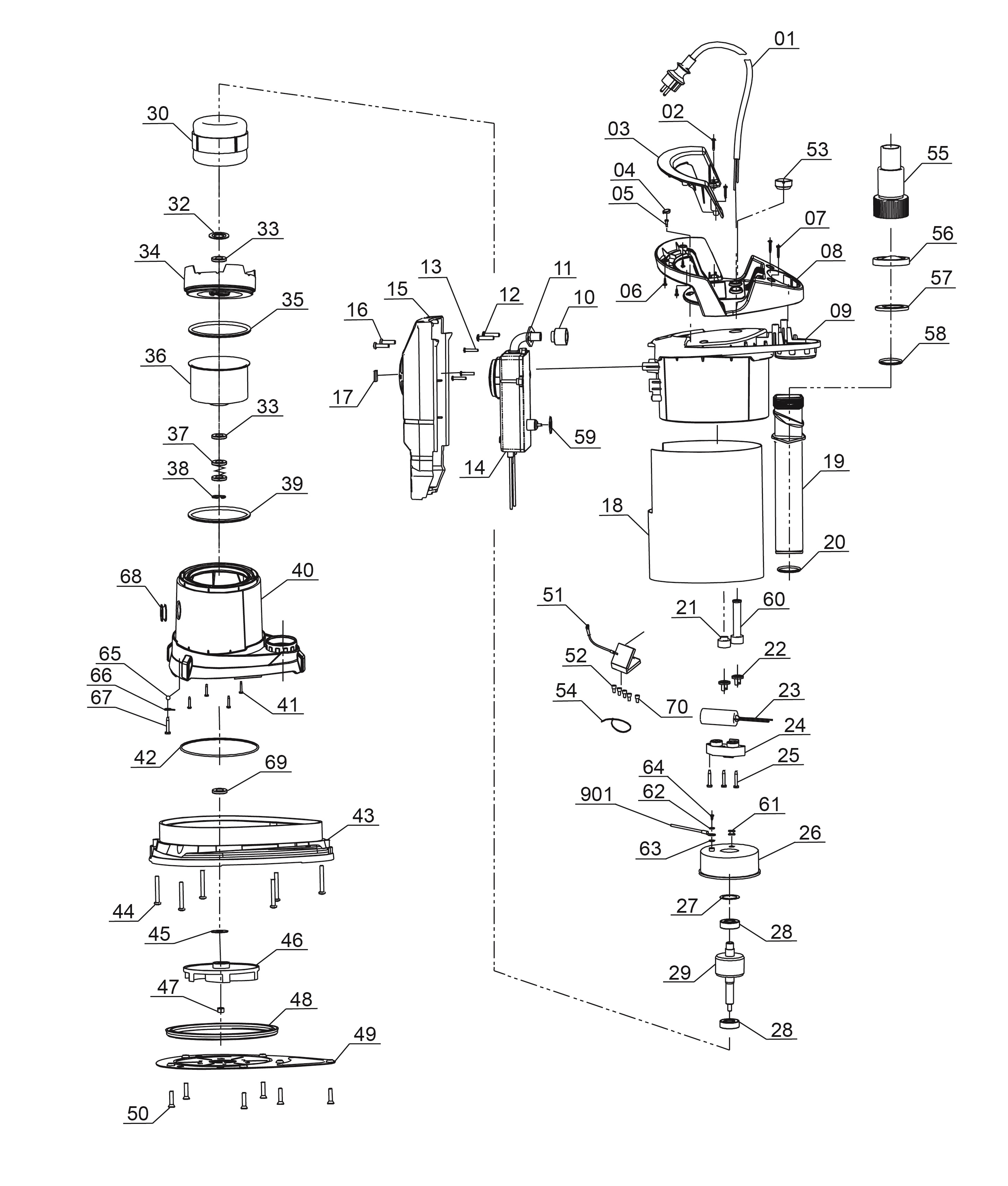
Pompa de apă limpede Einhell GE-SP 4390 N-A LL cu Aquasensor este un ajutor puternic pentru pomparea apei curate. Datorită tehnologiei Aquasensor, pompa funcționează cu setare patentată a senzorului la trei niveluri de pornire automate sau poate fi utilizată în modul de funcționare continuă. Datorită senzorului integrat, pompa are un design compact și poate fi utilizată și în puțuri înguste. Datele tehnice sunt impresionante și evidențiază versatilitatea utilizării: cu o putere de 430 wați, poate pompa apă limpede de la o adâncime de până la șapte metri și este echipată cu o supapă de reținere. Temperatura maximă a apei poate fi de până la 35 de grade Celsius. Pompa de apă limpede Einhell GE-SP 4390 N-A LL aspiră la nivel redus până la un strat rezidual de apă de doar un milimetru, oferind astfel un rezultat aproape uscat. Carcasa pompei este realizată din plastic rezistent la șocuri, cu înveliș exterior din oțel inoxidabil, iar garnitura mecanică de înaltă calitate asigură durabilitate și o durată lungă de viață. Pompa este echipată cu un mâner de transport ergonomic, un orificiu de agățare integrat și un racord universal. Racordul pentru furtun este amplasat în partea superioară a pompei pentru acces facil.
Detalii tehnice
Descarcari similare
Descoperiti serviciile noastre gratuite de garantie pentru produsele sau acumulatorii dumneavoastra Einhell.
Recenziile clientilor
Einhell nu se asigura ca recenziile publicate provin de la consumatori care au utilizat sau achizitionat efectiv bunurile sau serviciile, cu exceptia cazurilor de "Achizitie verificata".
